米哈游法务部一年近400起诉讼案,正在对这些侵权行为重拳出击
创始人
2025-04-25 15:02:24
0

一个月前,米哈游法务部在B站、 、微信、微博、小红书等平台正式开始运营。作为国内首个单独开设法务部社交媒体账号整理案件的游戏厂商,加上米哈游本身的自带流量属性,获得业内和玩家的不少关注。

米哈游法务部在4月份也开始高频次对外公布维权进度,从3月31日发布第一条消息后,截至4月23日已发布4条消息,仅B站平台上最高点击量就接近百万。

细看米哈游法务部发布的消息,基本都代表着米哈游近年来维权的典型案例:

1、打击“游戏账号非法租售黑灰产”链条;

2、侵犯商标权,比如冒用官方名义举办线下活动;

3、泄露米哈游旗下产品涉密游戏内容。

最近几年米哈游及旗下产品一直处于游戏圈漩涡中心,米哈游官方账号在2023年发布了关于打击侵权行为的严正声明,表示会持续开展维权行动,不遗余力地采取各项措施打击泄密、私服以及外挂等违法犯罪行为。并在后续陆续公布了打击外挂制售、盗版周边、私服等案件的进度。

为了更好了解米哈游维权情况,我们根据企查查的公开信息,统计了米哈游旗下主体公司自2016年以来的法律诉讼案件,截至4月22日统计共计839起案件。

839起法律诉讼案件中,米哈游作为原告的有606起,占比约为72%,这也意味着米哈游主动出击维权占公司诉讼案件的绝大部分比例。案由数量前三的分别是侵害商标权纠纷、著作权权属纠纷和侵害作品信息网络传播权纠纷。

这些诉讼案件主要分布在米哈游旗下六个公司主体,并根据公司主体不同有着大致的分类。

米哈游科技(上海)有限公司主要是对游戏公司侵权起诉,包括此前在业内引起较大讨论热度的起诉三七互娱在广告中使用了《崩坏3》角色苍玄形象的案件。

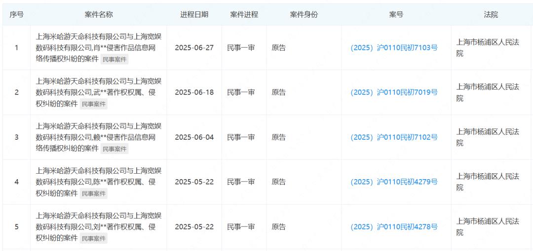
上海米哈游天命科技有限公司和上海米哈游海渊城科技有限公司主要是针对内鬼泄密进行维权,包括数十起起诉B站以获得内鬼个人信息的案件,仅上海米哈游天命科技有限公司从2021年起起诉B站的案件就超过60起。

就在几天前的4月21日,最高人民法院发布了2024年人民法院知识产权典型案例,米哈游向上海市浦东新区人民法院提起诉讼的“‘剧透’游戏未公开角色侵害商业秘密案”入选,这个案例也是属于典型的内鬼泄密类型。同时最高人民法院在报告还指出,本案涉及游戏未公开的角色设计等信息构成商业秘密的认定标准和裁判规则,对促进游戏产业健康发展具有积极意义。

法律诉讼案件中最多的为周边衍生品维权诉讼,分布在上海吼美科技有限公司和上海米哈游网络科技股份有限公司两个主体上。2023年这两个公司主体下关于周边衍生品侵权的诉讼超过30起,2024年更是达到了200余起,2025年至今已公布的开庭公告接近100起。

米哈游官方账号曾在2023年7月发布公告表示配合警方捣毁生产、存储、销售侵权网游周边的团伙,涉案金额超过1亿元,按照2024年和2025年的诉讼案件增涨情况,后续的涉及盗版周边的金额或许更为庞大。

从米哈游每年的法律诉讼案件数量看,每年呈倍数增涨,主要原因或许与《原神》《崩坏:星穹铁道》等产品的全球火爆、米哈游维权意识提升等多方面均有关系。

我们也看到米哈游法务部入驻各大平台之后带来的震慑效果立竿见影。根据B站UP主“不当咕咕咕的鸽子”统计,今年3月份以来已有近10位内鬼的数十个账号公开向米哈游道歉。

论坛中也时不时有网友反馈电商平台商家对周边侵权行为道歉并下架店铺商品。

一方面米哈游通过严格的版权保护用于保障游戏的稳定性,旗下《原神》《崩坏:星穹铁道》等产品依赖长线运营,法务部的主动出击可确保内容独占性,支撑后续剧情、角色开发的投入回报。

另一方面对品牌联名、衍生品授权的严格监管,增强第三方品牌合作信心,也维护了购买正版衍生品玩家对周边的稀缺性和付费体验。

虽然米哈游法务部发布的内容并未开放评论区,但我们可以在相关的二创视频下方常有玩家呼吁遇到侵权时@米哈游法务部。也看出来米哈游法务部通过公示侵权案例、提供举报通道,引导玩家参与维权生态建设,形成企业-用户-平台三方联动的反黑产网络。

米哈游法务部的平台化运营,本质是通过企业力量推动游戏行业从“野蛮生长”转向“精细化治理”。短期看,直接保护了企业利益;长期看,通过提升侵权成本、降低维权门槛,加速行业形成尊重知识产权、注重内容质量的健康生态。

米哈游长久以来的专项维权行动不仅仅在维护自身权益上取得成果,也提供了可参考案例。无论是入选2024年人民法院知识产权典型案例的“剧透”游戏未公开角色侵害商业秘密案,还是全国首例以《反不正当竞争法》第二条认定传播涉密游戏内容行为构成侵权生效判决的“蚕豆网”泄密案,都为游戏行业提供了可复制的法律实践模板。

相关内容

双节出行 这份防骗指南能帮...
低价旅游陷阱:馅饼还是陷阱? 随着国庆中秋双节临近,各大旅行社纷...
2025-10-01 09:09:52
奉上节日文旅大餐 3000...
羊城晚报全媒体记者 黎存根 9月30日,广东省文化和旅游厅上线“民...
2025-10-01 09:09:48
暖心、便民、智慧、精细……...
暖心、便民、智慧、精细……多样化服务保障百姓乐享假期顺畅出行来源:...
2025-10-01 09:08:58
国际区域新增“休息舱”66...
9月30日上午,白云机场,旅客排队进入国内出发大厅。 供图:机场宣...
2025-10-01 09:08:55
超实用!长假出行“住店避坑...
国庆中秋假期来啦!相信很多小伙伴已经做好了出游计划,即将踏上旅途。...
2025-10-01 09:08:09
在法国酒店房间里关灯
2025-10-01 09:07:52
中濠集团深耕湾区——中濠悦...
在金秋的季节里,备受期待的盛事如期而至。2025年9月29日,中濠...
2025-10-01 09:07:47

热门资讯

霸王茶姬全球最大“超级茶仓”落... 钛媒体App 9月26日消息,霸王茶姬宣布,其全球最大规模的“超级茶仓”正式于香港湾仔利东街开业,是...
美议员与驻华大使闭门会:中国买... 【文/观察者网 柳白】时间一天天过去,中国还会买本季美国大豆吗?美国豆农眼巴巴盼着,而美国政客的心越...
原创 1... 在1925年,韩练成凭借一份借来的文凭成功考入了西北陆军第七师军官教导队,正式开始了他的军旅生涯。那...
10月1日起 铁路客运纸质行程... 10月1日起,铁路客运全面使用电子发票,不少旅客关心报销、行程查询、老年人出行是否便利等问题,这里帮...
原创 日... 战争尚未打响,但关于它的预言却已掀起波澜。最近,日本一位资深军事专家抛出惊人论断:若中日爆发冲突,日...
原创 外... 南海海面下,正悄然发生一场“静默革命”:中国在海南海域测试的两款超大型无人潜艇被曝出水面,它们的尺寸...
北青:国足选帅结果最快10月内... 北青记者 撰文,谈及国足选帅进程,据北京青年报记者了解,选帅具体结果最快将于10月内产生。肖赧写道:...
新一轮关税或为美国经济又添“败... 新华社北京/纽约10月1日电 题:新一轮关税或为美国经济又添“败笔”新华社记者陈斯达 刘亚南美国政府...
哥伦比亚总统撤换驻华外交官:破... 【文/观察者网 熊超然】近期,哥伦比亚和美国的关系持续紧张,哥伦比亚总统佩特罗的赴美签证甚至也被美方...
双江县磊沏茶叶经营部(个体工商... 天眼查App显示,近日,双江县磊沏茶叶经营部(个体工商户)成立,法定代表人为许田富,注册资本3万人民...